ASME B16.11 Hex Head Plug is a critical component used for the permanent or temporary sealing of threaded pipe ends. While its design appears straightforward, precision in dimensions and adherence to pressure ratings are vital for maintaining system integrity and preventing catastrophic leaks. HT PIPE is a ASME B16.11 Hex Head Plug supplier with 15+ export experience. Contact us for more information and quotes for free!
What is the ASME B16.11 Standard?
ASME B16.11 is the governing standard for Forged Fittings, Socket-Welding, and Threaded. Hex head plugs fall under the threaded category. Unlike cast fittings, these are forged to handle significantly higher pressures and temperatures, making them the industry standard for oil & gas, chemical processing, and power generation.
Installation Insights: Hex Head vs. Other Plug Types
Why choose a Hex Head over a Square Head or Round Head plug?
Torque Application: The hexagonal shape allows for a more secure grip with standard adjustable or socket wrenches, reducing the risk of "rounding off" the head during high-torque tightening.
Low Profile: Compared to square head plugs, hex heads often offer a slightly more compact clearance in tight piping manifolds.
Maintenance: In systems requiring frequent drainage or sensor port access, the hex head is the preferred choice for repeated removal and re-installation.

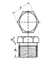
ASME B16.11 Hex Head Plug Dimension
|
Nominal size |
Length |
Square height |
Width flats |
Head diameter |
Length |
Hex height |
Hex height |
Hex height |
|
|
DN |
NPS |
Amin |
Bmin |
Cmin |
Emin |
Dmin |
Hmin |
Gmin |
Fmin |
|
6 |
1/8 |
10 |
6 |
7 |
10 |
35 |
6 |
一 |
11 |
|
8 |
1/4 |
11 |
6 |
10 |
14 |
41 |
6 |
3 |
16 |
|
10 |
3/8 |
13 |
8 |
11 |
18 |
41 |
8 |
4 |
18 |
|
15 |
1/2 |
14 |
10 |
14 |
21 |
44 |
8 |
5 |
22 |
|
20 |
3/4 |
16 |
11 |
16 |
27 |
44 |
10 |
6 |
27 |
|
25 |
1 |
19 |
13 |
21 |
33 |
51 |
10 |
6 |
36 |
|
32 |
11/4 |
21 |
14 |
24 |
43 |
51 |
14 |
7 |
46 |
|
40 |
11/2 |
21 |
16 |
28 |
48 |
51 |
16 |
8 |
50 |
|
50 |
2 |
22 |
18 |
32 |
60 |
64 |
18 |
9 |
65 |
|
65 |
21/2 |
27 |
19 |
36 |
73 |
70 |
19 |
10 |
75 |
|
80 |
3 |
28 |
21 |
41 |
89 |
70 |
21 |
10 |
90 |
|
100 |
4 |
32 |
25 |
65 |
114 |
76 |
25 |
13 |
115 |
Common Questions (FAQ)
What is the difference between Hex Head vs. Hex Socket?
Hex Head: External head, tightened with a standard wrench, protrudes out.
Hex Socket: Internal "Allen" key drive, sits flush with the fitting, better for tight spaces.
What are the Pressure Ratings?
Class 3000: Most common for industrial piping.
Class 6000: For extreme high-pressure/hydraulic systems.
Which materials are used?
ASTM A105: Standard carbon steel (high temp).
ASTM A182 F316L: Stainless steel (corrosion resistance).





